HƯỚNG DẪN LẮP ĐẶT MÀN HÌNH CHUÔNG CỬA COMMAX
Hiện nay, lắp đặt chuông cửa màn hình đang trở thành một phần không thể thiếu trong các căn hộ chung cư, biệt thự, cổng công ty,…. vì những tiện ích và tác dụng ưu việt của sản phẩm.Tạo được cảm giác an toàn cho chủ nhà khách tiếp khách lạ....
Hệ thống chuông cửa có hình giúp bạn có thể giao tiếp với khách thông qua camera và micro tích hợp sẵn , ngoài ra có thể kết hợp với khoá điện từ tự động để mở cửa từ xa mà bạn không cần ra tận nơi
I. NHỮNG LỢI ÍCH KHI LẮP ĐẶT CHUÔNG CỬA CÓ MÀN HÌNH
Việc lắp đặt một hệ thống chuông cửa có hình lại không quá khó. Sau đây, Tia Sáng Telecom xin hướng dẫn các bước để lắp đặt chuông cửa có hình.
Việc tự lắp đặt chuông cửa có màn hình không chỉ giảm chi phí mà còn mang lại sự an tâm hơn cho bạn, vì đó là sản phẩm do chính tay lắp đặt, cái chính là mang lại niềm vui nhỏ khi hoàn thành một phần của căn nhà của mình, việc này không thể tính bằng tiền bạc. Cho nên Công ty Viễn Thông Tia Sáng làm ra hướng dẫn này để mọi người có thể tự lắp đặt chiếc chuông cửa có hình commax cho căn nhà của mình.
1. Lắp đặt màn hình lên tường:

Màn hình chuông cửa commax được thiết kế mỏng rất phù hợp với việc lắp nổi mà không ảnh hưởng đến thẩm mĩ của ngôi nhà.
.png)
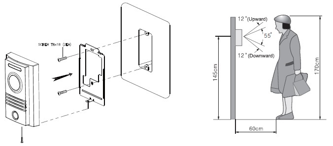
2. Lắp nút nhấn Camera ngoài cổng

3. Sơ đồ nối dây giữa màn hình Commax với camera Commax

III. SƠ ĐỒ KẾT NỐI LÊN ĐẾN MÀN HÌNH 4 MÀN HÌNH

Lưu ý : số lượng màn hình có thể phụ thuộc vào khoảng cách từ nút nhấn camera chuông đến màn hình chuông cửa . Khoảng cách tối đa cho phép tối đa đối với so đồ đi dây trên là 100m ( điều kiện dùng dây cat 6 loại tốt ).
Mọi thông tin vui lòng liên hệ:
CÔNG TY TNHH TÍCH HỢP MẠNG VIỄN THÔNG TIA SÁNG
753/42 Tỉnh Lộ 10 – Khu phố 1 – P. Bình Trị Đông B – Q. Bình Tân – TP. HCM
Điện thoại: (028) 3754 3969 Fax: (028) 3754 3959
Email: info@vienthongtiasang.vn
Hotline: 0913 66 44 43 – 0917 522 848
I. NHỮNG LỢI ÍCH KHI LẮP ĐẶT CHUÔNG CỬA CÓ MÀN HÌNH
- Chủ động trong việc đón tiếp khách tới nhà
- Khóa từ giúp mở cửa tự động
- Lưu trữ hình ảnh khi khách đến nhà khi chúng ta không có ở nhà
- Quản lý dễ dàng và hiệu quả việc ra vào cổng đề phòng kẻ gian .
- Bảo đảm an ninh cho ngôi nhà của bạn
Việc lắp đặt một hệ thống chuông cửa có hình lại không quá khó. Sau đây, Tia Sáng Telecom xin hướng dẫn các bước để lắp đặt chuông cửa có hình.
Việc tự lắp đặt chuông cửa có màn hình không chỉ giảm chi phí mà còn mang lại sự an tâm hơn cho bạn, vì đó là sản phẩm do chính tay lắp đặt, cái chính là mang lại niềm vui nhỏ khi hoàn thành một phần của căn nhà của mình, việc này không thể tính bằng tiền bạc. Cho nên Công ty Viễn Thông Tia Sáng làm ra hướng dẫn này để mọi người có thể tự lắp đặt chiếc chuông cửa có hình commax cho căn nhà của mình.
1. Lắp đặt màn hình lên tường:

Màn hình chuông cửa commax được thiết kế mỏng rất phù hợp với việc lắp nổi mà không ảnh hưởng đến thẩm mĩ của ngôi nhà.
.png)
2. Lắp nút nhấn Camera ngoài cổng

3. Sơ đồ nối dây giữa màn hình Commax với camera Commax

III. SƠ ĐỒ KẾT NỐI LÊN ĐẾN MÀN HÌNH 4 MÀN HÌNH

Lưu ý : số lượng màn hình có thể phụ thuộc vào khoảng cách từ nút nhấn camera chuông đến màn hình chuông cửa . Khoảng cách tối đa cho phép tối đa đối với so đồ đi dây trên là 100m ( điều kiện dùng dây cat 6 loại tốt ).
Mọi thông tin vui lòng liên hệ:
CÔNG TY TNHH TÍCH HỢP MẠNG VIỄN THÔNG TIA SÁNG
753/42 Tỉnh Lộ 10 – Khu phố 1 – P. Bình Trị Đông B – Q. Bình Tân – TP. HCM
Điện thoại: (028) 3754 3969 Fax: (028) 3754 3959
Email: info@vienthongtiasang.vn
Hotline: 0913 66 44 43 – 0917 522 848













